服务热线
86-21-54488867 / 4008202557
GB/T 30901-2025 高纯氟化铵溶液
范围
本文件规定了高纯氟化铵溶液的分类、要求、试验方法、检验规则、标志和随行文件、包装、运输和贮存。
本文件适用于高纯氟化铵溶液。
注:该产品主要应用于太阳能光伏电池、集成电路和超大规模集成电路芯片的清洗、蚀刻等行业。
术语和定义
本文件没有需要界定的术语和定义。
分子式和相对分子质量
分子式:NH4F。
相对分子质量:37.04(按2022年国际相对原子质量)。
分类
高纯氟化铵溶液按用途分为5个等级:
a) EL级:主要用于太阳能光伏电池及液晶显示器件等的制造;
b) UP级:主要用于线宽为0.8μm~1.2μm集成电路的清洗与蚀刻;
c) UP-S级:主要用于线宽为0.2μm~0.8μm集成电路的清洗与蚀刻;
d) UP-SS级:主要用于线宽为0.09μm~0.2μm集成电路的清洗与蚀刻;
e) UP-SSS级:主要用于线宽小于0.09μm集成电路的清洗与蚀刻。
要求
外观:无色透明液体。
高纯氟化铵溶液按本文件规定的试验方法检测应符合表1的规定。

试验方法
氟化铵含量的测定
原理
使用电位滴定法测定氟化铵含量,电极与试样溶液组成一个工作电池,用NaOH标准滴定溶液滴定。在滴定终点附近,氢离子(H+)浓度发生突变,引起电极电位的突跃,根据突跃确定滴定终点。
试剂和材料
NaoH标准滴定溶液:c(NaOH)≈1.0mol/L。
仪器设备
自动电位滴定仪:符合 JJG 814-2015 规定的0.1级别要求,并配有复合pH电极。
试验步骤
在带盖的150mL塑料烧杯中加入约60mL水,称量,用塑料管加入1.5g~2.5g试样,再称量,2次称量均精确至0.0002g,差减计算所称取试样的质量。用水冲洗烧杯壁加水至70mL~80mL,将烧杯置于自动电位滴定仪的滴定台上,将电极和滴定头浸入液面以下。按仪器操作要求将自动电位滴定仪调试至工作状态,开启搅拌并用NaOH标准滴定溶液进行滴定,记录每个滴定终点消耗NaOH标准滴定溶液的体积。
滴定终点的情况分为以下2种:
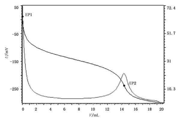
a) 出现2个滴定终点时(滴定曲线见示例1),分别记录第1滴定终点消耗的体积(V1)和第2滴定终点消耗的体积(V2);
b) 只出现1个滴定终点时(滴定曲线见示例2),记录这个滴定终点消耗的体积(V)。
示例1:
示例2:
试验数据处理
出现2个滴定终点时氟化铵含量的计算
氟化铵含量以氟化铵(NH4F)的质量分数ω1计,按公式(1)计算:![]()
式中:
V2——第2滴定终点所消耗NaoH标准滴定溶液的体积的数值,单位为毫升(mL);
V1——第1滴定终点所消耗NaOH标准滴定溶液的体积的数值,单位为毫升(mL);
c ——NaOH标准滴定溶液浓度的准确数值,单位为摩尔每升(mol/L);
M ——氟化铵(NH4F)摩尔质量的数值,单位为克每摩尔(g/mol)(M=37.04);
m ——试料的质量的数值,单位为克(g)。
取平行测定结果的算术平均值为测定结果,两次平行测定结果的差值不大于0.1%。
出现1个滴定终点时氟化铵含量的计算
氟化铵含量以氟化铵(NH4F)的质量分数ω1计,按公式(2)计算:![]()
式中:
V ——滴定所消耗NaOH标准滴定溶液的体积的数值,单位为毫升(mL);
c ——NaOH标准滴定溶液浓度的准确数值,单位为摩尔每升(mol/L);
M ——氟化铵(NH4F)的摩尔质量的数值,单位为克每摩尔(g/mol)(M=37.04);
m ——试料的质量的数值,单位为克(g)。
取平行测定结果的算术平均值为测定结果,两次平行测定结果的差值不大于0.1%。
京都电子KEM 自动电位滴定仪 AT-710S
上一篇:没有了